En 61508
Iec Guide
2
Bs En 2 10 Functional Safety Of Electrical Electronic Programmable Electronic Safety Related Systems Requirements For Electrical Electronic Programmable Electronic Safety Related Systems
Trying To Understand Sis Safety Instrumented Systems Schneider Electric Blog
Projectsetc Com Safety Related Control Systems
What Is Sil According To Iec Standard H On Blog
Fs Products
Din En 2 Vde 0803 2 11 02 Standards Vde Publishing House
Rtos For Iec Safety Software For Rail And Industrial Applications
Hw Sw Design Iec Tuv Rheinland Is Tuv Rheinland
Table 1 From Development Of Safety Related Systems Semantic Scholar
Iec Functional Safety Faq Ed1 0
Can Newsletter Org Uploads Media Raw D2dbeee23d8bf34dba54ccf03b1 Pdf
Safety Relay Ensures Safe Shutdown To En Sil 3
Microcontrollers For Safety Critical Applications Digikey
Safety Integrity Level An Overview Sciencedirect Topics
Reer Iec 661 Sil Conclusions
Q Tbn And9gcq Rqgqylklbf7johgv2zoj5cjrjpna1cs0oi Usqp Cau
2
Rtos For Iec Safety Software For Rail And Industrial Applications
Iec The Mother Of All Safety Standards Lorit Consultancy
Iec 5
If You Need To Comply With Iso Iec Or Similar Standards You May Need To Work More Formal Formal Mind Gmbh
What Is Functional Safety Iec Byhon
Plant Security Sil Pfannenberg
The Importance Of Functional Safety Lattice Semiconductor
Which Standard Is The Key To Compliant Safety Controls
Successfully Applying Iec In Model Based Devolopment Mes
Funktionale Sicherheit Konformitatserklarung Mit Software Weka Manager Ce
Functional Safety The Cloud Part 2 Engineerzone Spotlight Engineerzone Engineerzone
Is Iec 3 Functional Safety Of Electrical Electronic Programmable Electronic Safety Related Systems Part 3 Software Requirements Bureau Of Indian Standards Free Download Borrow And Streaming Internet Archive
Basic Rules For All Industries Traceability Solutions Keyence America
Functional Safety And Cyber Security Workshops Ro Tuv Rheinland
Successful Compliance With Iec Safety Standards
Sil En Heating And Process
Example Of Risk Graph From Iec 5 Download Scientific Diagram
Iec
Iec Functional Safety Assessment Emerson Process Exida
Http Homepages Cs Ncl Ac Uk Felix Redmill Publications 4b Iec intro Pdf
Iso Safety Of Machinery Sensy
Iec Din En Beratung Bzgl Funktionaler Sicherheit Sicherheits Integritatslevel Sil Ermittlung Einstufung Gefahrdungs Risikoanalyse Qmti Luciano Bianchin
Hal Ineris Archives Ouvertes Fr Ineris Document
Q Tbn And9gcrgedut0chsbnjtyfjk31tk6u9hgjpuudnviepjkifua9xksztu Usqp Cau
Functional Safety Green Iso Iec Iso Automotive Safety Integrity Level Organization System Risk Transparent Background Png Clipart Hiclipart
Iso Iec Technical Safety Concept Services Fusa Iso Vervetronics
Safety Matters A Sampling Of Functional Safety Standards Engineerzone Spotlight Engineerzone Engineerzone
Embedded Basics Part 1 Iec Functional Safety For Mcus
Functional Safety Iec Systems Safety Software Safety Safety Programs Safety Management Safety System Safety Intrgrity Level Sil
Iec 1 Ed 2 0 B 10 Functional Safety Of Electrical Electronic Programmable Electronic Safety Related Systems Part 1 General Requirements
International Safety Standards For Process Industry
What Is Functional Safety An Overview Key Standards Perforce
씨엔비스
Iec And Management Of Functional Safety
What Is Iec And Safety Integrity Level Sil Basics Perforce
Example Of Risk Graph From Iec 5 Download Scientific Diagram
Www Tuvsud Com En Gb Media Global Pdf Files Infographics Tuvsud Functional Safety In A Nutshell Infographic Pdf La En Gb Hash 9a4ae304d62b0e463e9ff7774
Iec Standard Risknowlogy
Iec Qa Systems
Functional Safety Overview Ppt Video Online Download
Iec Safety Life Cycle Functional Safety Biological Life Cycle Diagram Png 1456x7px Iec Area
Www Norskoljeoggass No Contentassets Adc7e1512fcb7fe9fbed6 Norwegian Oil And Gas Guidelines 070 Rev 3 June 18 Pdf
Successful Compliance With Iec Safety Standards
Tuv Certified Functional Safety Training Course
Q Tbn And9gcr4i7slfx9cpraolau9humzufojwmdububroxefvunz Cg0crbh Usqp Cau
Www Auma Com Fileadmin User Upload Pdf News Selection Of Components Iec And Iec Pdf
Www Mtl Inst Com Images Uploads Datasheets App Notes An9025 Pdf
Industrial Monitoring Safetty Systems Ltd
Functional Safety For Integrated Circuits
Functional Safety Microsemi
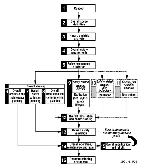
Safety Life Cycle
Overview Of Functional Safety
Microsemi Fpga Design Tools Certified For Iec Functional Safety Requirements
Difference Between Iec Iec Slc Version Instrumentation And Control Engineering
Product Certification Sil Capability Iec
Din En Vde 0803 Beiblatt 1 05 10 Standards Vde Publishing House
Iec Sicherheitsgrundnorm Fur Funktionale Sicherheit Konformitatserklarung Mit Software Weka Manager Ce
Q Tbn And9gcra6p1xjz4ehpqiraxotcg5ex7534fpr9k 4osjwv2wbi1ku2ml Usqp Cau
En 1 01 Functional Safety Of Electrical Electronic Programmable Electronic Safety Related Systems Part 1 General Requirements
Functional Safety For Integrated Circuits By Tom Meany Analog Devices Inc Softei Com
17 Software Safety Lifecycle Model Of Iec Download Scientific Diagram
Safety Instrumented Systems Sis Design And Assessment Of Protective Systems Process Safety Performance Abb
Download Schneider Electric Com Files P Endoctype Technical Leaflet P File Name Fd Ti Po 03 En Pdf P Doc Ref Fd Ti Po 03 En
Iso Iec Functional Safety Services Iso Iec Safety Hardware Design Development Services Service Provider From Pune
Iec Part 1 Pdf International Electrotechnical Commission International Organization For Standardization
Iec Sysgo Embedding Innovations
16 Iec Safety Lifecycle Model Download Scientific Diagram
Overview Of Iec And Iso Safety Standards And Certification Steps Ti Com Video
Iec Certification Kit For Iso And Iec Matlab Simulink
Sist En 6 07 Functional Safety Of Electrical Electronic Programmable Electronic Safety Related Systems Part 6 Guidelines On The Application Of Iec 2 And Iec 3
Iec Chart Exida Functional Safety Services Iacs Cybersecurity Alarm Management Iec Certification
Cfsp Another Feather In My Cap Cgk Doh
Hal Ineris Archives Ouvertes Fr Ineris Document
Nemotec Nemotec Sicurezza Funzionale
Iec Functional Safety Faq Ed2 0
Functional Safety Iec Systems Safety Software Safety Safety Programs Safety Management Safety System Safety Intrgrity Level Sil
Pdf Instrumented Protective Systems Sil Classification And Lifecycle Integrity Management To Comply With Bs En Semantic Scholar
Can Newsletter Org Uploads Media Raw D2dbeee23d8bf34dba54ccf03b1 Pdf
The Relationship Of The Documents To Iec The Safety Critical Systems Handbook 4th Edition Book
Is Iec 2 Functional Safety Of Electrical Electronic Programmable Electronic Safety Related Systems Part 2 Requirements For Electrical Electronic Programmable Electronic Safety Related Systems Bureau Of Indian Standards Free Download
Heason Mobile Navigation Association About Us About Us Meeting Dates Join Us Participation Rules Cass Introduction Self Declaration Accredited Certification History News Downloads Members Knowledge What Is Functional Safety What Is Iec
Www Thenbs Com Publicationindex Documents Details Docid
Figure 2 Effects Of Iso On Commercial Vehicle And Steering System Springerlink
Dl Acm Org Doi Pdf 10 5555
Rtm Safety Iec Certificate V1 1


